设为密封条首页  | 加入收藏 | 联系我们  
首 页 公司简介 密封条中心 生产设备 研发部门 荣誉证书 密封条知识 联系方法

  产品类别
橡胶密封条系列
        橡胶密封条系列
        桥梁伸缩缝密封条
        防火膨胀密封条
        透明密封条
        氯丁橡胶密封件
        丁腈耐油橡胶密封条
        三元乙丙密封条
        硅胶密封条
        橡塑密封条
        PVC密封条
        热塑弹性体(TPE)密封条
建筑幕墙门窗密封条
        木质门窗密封胶条(自粘型)
        木质门窗密封条(卡槽型)
        铝合金节能门窗密封条
        塑钢门窗密封条
        建筑变形缝橡胶条
        建筑幕墙用塑胶密封条(垫)
        门窗密封条
厢式车密封条系列
        厢式车密封条
        冷藏车密封条
        集装箱密封条
车用密封条系列
        汽车密封条
        装饰条
        车门玻璃滑槽
        火车地铁高速列车密封条
        成型条
        车门海绵密封条
        客车密封条
        车门挡水条
        复合密封条
        汽车座椅条
        玻璃风挡密封条
电器密封条系列
        电器密封条系列
        唇形密封条
        蒸柜密封条
        烘箱密封条
        冰箱密封条
导电绝缘阻燃胶条
        导电绝缘阻燃密封条
其它橡胶制品
        橡塑/EVA/PE发泡板
        胶条系列
        软硬复合密封条
        橡胶垫系列
        橡胶管
防火、阻燃密封条系列
        防火、阻燃密封条

 
您现在所在的位置:首页 >> 厢式车密封条系列/冷藏车密封条

【产品名称】

冷藏车密封条

【产品价格】

面议

【产品规格】

〖产品数量〗

现货

【所属类别】

厢式车密封条系列/冷藏车密封条

〖生产厂商〗

清河县康正密封件有限公司      【点击次数】2651
 

  冷藏车密封条详细信息

 

  作为专业厢式货车集装箱封条的生产企业,飞达先后研制出了适用于各种厢式火车集装箱封条,产品美观大方,安装方便,密封性能好,使用寿命长,是提高货车档次的新颖产品,多年来一直外销欧美、东欧、日本等国际市场,品种齐全,质量保证,服务周到,欢迎选购。

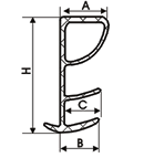
部分产品断面示意图
型号
名称 规格 断面示意图 型号
名称 规格 断面示意图
SLQCLC-1 冷藏汽车门封条
A×B×C×H
49×21×29×48
48×24×26×46
SLQCLC-2 冷藏汽车门封条
A×B×C×H
50×24×25×80
SLQCLC-3 冷藏汽车门封条
A×B×C×D×E×H
50×20×21×22
×24×111
SLQCLC-4 冷藏汽车门封条
A×B×C×D×H
50×20×21
×22×82
SLQCLC-5 冷藏汽车门封条
A×B×C×H
50×20×21×62
SLQCLC-6 冷藏汽车门封条
A×B×H
50×20×51
SLQCLC-7 冷藏汽车门封条
A×B×C×D×H
50×20×22
×24×111
SLQCLC-8 冷藏汽车门封条
A×B×C×D×H
50×20×22
×24×111
SLQCLC-9 冷藏汽车门封条
A×B×C×H
50×20×22×62
SLQCLC-10 冷藏汽车门封条
A×B×H
48×22×52
48×22×30
SLQCLC-11 冷藏汽车门封条
A×B×C×D×H
48×26×30×26×90
SLQCLC-12 冷藏汽车门封条
A×B×H
48×26×41
48×26×36
SLQCLC-13 冷藏汽车门封条
A×B×C×H
30×20×22×98
SLQCLC-14 冷藏汽车门封条
A×B×H
43.8×13.5×40.5
43.8×13.5×29.5
SLQCLC-15 冷藏汽车门封条
A×B×C×H
28×26×36×26
SLQCLC-16 冷藏汽车门封条
A×B×C×H
28×26×38.5×26
SLQCLC-17 冷藏汽车门封条
A×B×H
26×27.4×22
SLQCLC-18 冷藏汽车门封条
A×B×H
21×30×26
SLQCLC-19 冷藏汽车门封条
A×B×C×H
9×26×29×26
9×26×29×19
SLQCLC-20 冷藏汽车门封条
A×B×H
26.6×29.7×40
26.6×29.7×30